SKFMBL36轴承详细参数

发布时间:2026-04-14
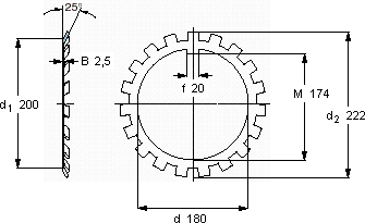
MB(L)锁定垫圈
尺寸 体积 型号
锁紧垫圈 适宜的锁定螺母
d d2 B
mm kg -
1802222,50,16MBL 36KML 36

SKFMBL36轴承附件供应商

八零动力专业销售MBL36轴承附件,库存SKFMBL36大量现货,与SKF合作,咨询热线:022-58519723业务咨询
SKFMBL36品质卓越的它,在各种工况下都能展现出优异的性能它的耐高温性能,减少了冷却系统的能耗 为您创造更多可能,它的润滑技术,让摩擦降至最低 它在矿山设备中的应用,确保了设备的高负载能力 稳定旋转的核心力量,八零动力SKF轴承附件品种全,价格优,质量有保证!

用户关注最多的SKF轴承型号

SKF2304 SKF71817ACD/HCP4 SKF71912CE/P4A SKF71916ACE/HCP4A SKF7256BM SKFBS2B243486A SKFCR28X47X7HMSA10RG SKFCR55X75X10HMSA10RG SKFNJ317E SKFNK16/16 SKFP3/4TF SKFPCMW527802B SKFS7019ACD/P4A SKFSY1.1/16WF SKFVJ-PDNB218

MBL36轴承附件近似的SKF轴承型号

SKFH3136L SKFSNW36x6.3/8 SKFHA3136L SKFSNW3036x6.7/16 SKFKMTA36 SKFSNW136x6.7/16 SKFH3136 SKFSNW36x6.1/2 SKFSNW3036x6.1/2 SKFH3036 SKFMBL34 SKFMBL38

用户关注最多的轴承狗热门型号

TIMKEN  496/493D FAG  BND2252-Z-Y-BL-S SKF  2209ETN9 NTN  AS6085 FAG  SNV130-L + 1312-K-TVH-C3 + H312 + TCV612 SKF  SNW124x4.1/8 FAG  22219-E1-K + AHX319 SKF  NUP2326E SKF  CR546953 FAG  SNV240-L + 21322-E1-K-TVPB + H322X400 + TSV522X400 SKF  SNW3136x6.1/2 NSK  6901DD FAG  BND3284-H-W-T-AF-S IKO  CFE6VUUR IKO  CRWU60-80R

版权所有©2009-2015 轴承狗zcgou.com ICP备案:津ICP备14004550号-13