SKFZ210轴承详细参数

发布时间:2026-04-30
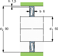
密封垫圈
尺寸 型号 适宜的锁紧垫圈
轴上 轴承座内
d1 d2 b h 型号 型号
mm - - -
509061,5Z 210ZW 50x62ZW 80x90

SKFZ210密封和间隔垫圈供应商

八零动力专业销售Z210密封和间隔垫圈,库存SKFZ210大量现货,与SKF合作,咨询热线:022-58519723业务咨询
SKFZ210它的加工精度,确保了机械运转的稳定性 您值得拥有它的使用寿命,远超同类产品 这款轴承的运转十分平稳,几乎感受不到任何震动它的尺寸一致性,让批量生产成为可能 轴承的性能可靠,为机械设备的稳定运行立下汗马功劳,八零动力SKF密封和间隔垫圈品种全,价格优,质量有保证!

用户关注最多的SKF轴承型号

SKF1205EKTN9 SKF216-2ZNR SKF22336CCKJA/W33VA405* SKF33209R/Q SKF6010/HR11QN SKF6026-2Z* SKF61864 SKF629/HR11QN SKF71916ACD/HCP4A SKFCR16x28x7CRW1R SKFCR260X290X16HDS2D SKFCR50X85X10HMSA10V SKFGS81115 SKFNUP2306E SKFNUP410

Z210密封和间隔垫圈近似的SKF轴承型号

SKFZ210 SKFZ210F SKFZ209F SKFZ210F

用户关注最多的轴承狗热门型号

SKF  CR412503 MAC  NJ217 TORRINGTON  21305CC 国产  NA6912 FAG  F513-WA-L + 22213-E1-K SKF  NK55/35 LYC  D787/870G2 SNR  7336B/DF KOYO  NJ316E NTN  3319 SNR  6005-RS LYC  6314 E-Z SKF  7012AC NSK  24184CAME4 SKF  22211EK+AHX311*

版权所有©2009-2015 轴承狗zcgou.com ICP备案:津ICP备14004550号-13