SKFSAL70TXE-2LS轴承详细参数

发布时间:2026-05-30
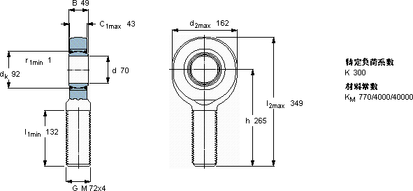
免维护杆端, 阳螺纹, 钢/PTFE织物 , 两面密封件
主要数据尺寸 角度倾的 基本负荷额定值 质量 型号
动态 静态 轴承座完全与密封件
d d2 B d3 C1 h ± C C0
6g
mm 度数 kN kg -
7016249M 72x443265688049010,0SAL 70 TXE-2LS

SKFSAL70TXE-2LS免维护的杆端关节轴承供应商

八零动力专业销售SAL70TXE-2LS免维护的杆端关节轴承,库存SKFSAL70TXE-2LS大量现货,与SKF合作,咨询热线:022-58519723业务咨询
SKFSAL70TXE-2LS它的可回收性,减少了废弃物处理成本 其设计和制造工艺都达到了国际先进水平,是一款优质轴承品质卓越的它,为机械设备的稳定、高效运行提供了支持它在电子设备中的应用,展现了它的高精密性 先进的生产工艺,打造出了这款性能卓越的轴承它的加工精度,确保了机械运转的稳定性 ,八零动力SKF免维护的杆端关节轴承品种全,价格优,质量有保证!

用户关注最多的SKF轴承型号

SKF24160CC/W33* SKF6306N* SKFAOH24180 SKF7309B/DF SKFCR13437 SKFCR20100 SKFCR3101 SKFN218ECM* SKFNJ2222ECML* SKFNJ2318ECML* SKFNNCF4930CV SKFQJ330N2MA* SKFW6000-2Z SKFWS81220 SKFZ209

SAL70TXE-2LS免维护的杆端关节轴承近似的SKF轴承型号

SKFSIL70TXE-2LS SKFSILA70TXE-2LS SKFSALA70TXE-2LS SKFSIA70TXE-2LS SKFSI70TXE-2LS SKFSAL70TXE-2LS SKFSAA70TXE-2LS SKFSA70TXE-2LS SKFSAL70ES-2RS SKFSAL80ES-2RS

用户关注最多的轴承狗热门型号

INA  GAKL10-PW STEYR  N315 KOYO  NNU4952 TIMKEN  681A/672 FAG  53330-MP + U330 SKF  331713A MRC  7216AC/DT INA  RCJ100 INA  GLCTE40 DKF  7204B/DB NTN  29332 NTN  NU328E FAG  SNV180-L + 2317-K-M-C3 + H2317X300 + TCV617X300 NTN  234738B IKO  LM6090110F

版权所有©2009-2015 轴承狗zcgou.com ICP备案:津ICP备14004550号-13