SKFSA10C轴承详细参数

发布时间:2026-04-29
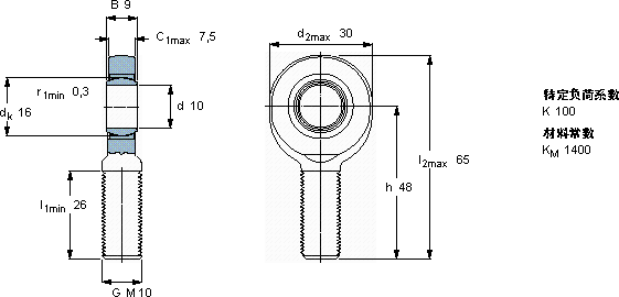
免维护杆端, 阳螺纹, 钢/烧结铜复合材料
主要数据尺寸 角度倾的 基本负荷额定值 质量 型号
动态 静态 轴承座完全与密封件
d d2 B d3 C1 h ± C C0
6g
mm 度数 kN kg -
10309M 107,548128,6518,30,049SA 10 C

SKFSA10C免维护的杆端关节轴承供应商

八零动力专业销售SA10C免维护的杆端关节轴承,库存SKFSA10C大量现货,与SKF合作,咨询热线:022-58519723业务咨询
SKFSA10C它的轻量化设计,减少了材料的使用 它的高可靠性,减少了设备停机时间 为您创造更多可能,它的密封性能,减少了润滑剂的泄漏 为您的工程保驾护航,它的设计巧妙,在保证性能的同时,还兼顾了安装的便捷性,八零动力SKF免维护的杆端关节轴承品种全,价格优,质量有保证!

用户关注最多的SKF轴承型号

SKF33209 SKF6301* SKF7215BECBY SKF81140 SKFCR29105 SKFCR5510 SKFCR95x115x12CRWA1V SKFCR95X120X12HMS5RG SKFCR99354 SKFFYR1.11/16H SKFFYRP1.3/4 SKFFYTBK35TR SKFNA4838 SKFNJ2320E+HJ2320E SKFSAF22609x1.1/2

SA10C免维护的杆端关节轴承近似的SKF轴承型号

SKFSILKB10F SKFSALKB10F SKFSAL10C SKFSIKB10F SKFSIKB10F/VZ019 SKFSA10C SKFSIL10C SKFSAKB10F SKFSI10C SKFS7/8FM SKFSA10E

用户关注最多的轴承狗热门型号

NMB  LF-1050 KOYO  NJ407+HJ407 NACHI  E33026J KOYO  33275/462 FAG  SNV170-L + 21316-E1-K + H316 + DHV616 FAG  HCS71907-E-T-P4S NSK  NJ2316ET NTN  24160CACK30/W33 NTN  23968 国产  23136 STEYR  53226U LYC  3820/950 KOYO  NNU4921 NTN  23996 KOYO  R29/22A

版权所有©2009-2015 轴承狗zcgou.com ICP备案:津ICP备14004550号-13