SKFMB2A轴承详细参数

发布时间:2026-05-30
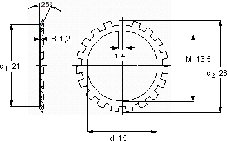
MB(L)锁定垫圈
尺寸 体积 型号
锁紧垫圈 适宜的锁定螺母
d d2 B
mm kg -
15281,20,003MB 2 AKM 2

SKFMB2A轴承附件供应商

八零动力专业销售MB2A轴承附件,库存SKFMB2A大量现货,与SKF合作,咨询热线:022-58519723业务咨询
SKFMB2A轴承的耐用性极佳,为设备的长期稳定运行提供了保障它的抗压强度,让它承载能力惊人 优秀的设计理念和精湛的制造工艺,成就了这款优秀的轴承它的旋转精度,让高速运转成为现实 制造工艺先进,使得这款轴承的性能远超普通产品它的精密制造工艺,让人叹为观止 ,八零动力SKF轴承附件品种全,价格优,质量有保证!

用户关注最多的SKF轴承型号

SKF22340CCK/W33* SKF2x7313BEGAF SKF304203A SKF314-ZNR SKF61892MA SKF7309BECBP* SKFC71910FB/P7 SKFFYTB3/4TF SKFKD21-805 SKFNJ248 SKFNNU4980B/SPW33 SKFOKBS84 SKFOKCX610 SKFYAR204-2FW/VA201 SKFYAR207-106-2F/AH

MB2A轴承附件近似的SKF轴承型号

SKFHMV62E SKFHE315E SKFSNW26x4.1/2 SKFHE2313 SKFH205 SKFHA3038x6.7/8 SKFKMK3 SKFMS31/850 SKFW22 SKFH316 SKFMB29 SKFMB3

用户关注最多的轴承狗热门型号

RIV  NU2317 SKF  NUP228ECJ* NACHI  NUP217 SKF  FYTJ50TF NTN  NJ232E LYC  5397/2839K NTN  NU324 NSK  7215CDF TIMKEN  SMN315K LYC  NJ 2315/P44 NTN  6224-2Z LYC  51207 INA  KUVE15-B-KT-SL NSK  240/1000CAMK30E4 SKF  CR590408

版权所有©2009-2015 轴承狗zcgou.com ICP备案:津ICP备14004550号-13