INA UFA3210导轨尺寸图纸

UFA系列标准精度等级 Q10的直线导引系统

目录

INA UFA3210轴承基本参数

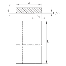
INA导轨 UFA3210, 标准精度等级 Q10
 
A32 mm 公差: -0,1
H10 mm 公差: -0,1
L2000 mm 最大
L = 标准长度; 适用于从400mm逐渐递增到 L max的单根导轨。
中间导轨的长度可可通过协商定制。长于 Lmax 的导轨可由多根标准导轨组合供货。
多根导轨的孔的布置方式在越过联接处仍然是有规律的。
 
A38 mm  
 

INA UFA3210轴承供货商

八零动力专业销售德国INAUFA3210导轨,库存德国INAUFA3210导轨大量现货,与厂家常年批量订购UFA3210轴承,咨询热线:022-58519723业务咨询

INAUFA3210,我选八零动力,品种全,价格优,质量有保证!大客户热线:022-58519722

其他品牌UFA3210轴承同类可代替型号

UFA3210高品质的轴承,在复杂工况下也能展现出卓越的性能这轴承的稳定性极佳,即使在恶劣环境下也能正常工作有效增强了机械设备的竞争力持久转动它在纺织机械中的应用,确保了设备的高速运转 它的可靠性,赢得了无数工程师的信任 制造工艺精湛,使得这款轴承的精度和稳定性都非常出色它的疲劳强度,确保了长期使用的可靠性 UFA3210

INA UFA3210轴承近似型号

INAUFA11518 INAUFA4710 INA UFA3210 INA UFK3210

热门点击型号

FAG SNV200-L+2319-M+TSV319 FAG SNV180-L+2220-K-M-C3+H320X307+DHV520X307 FAG SNV270-L+23230-E1-K-TVPB+H2330+FSV530 FAG SNV290-L+222S.507+TSV532X507 FAG F-800484.ZL-K-C5 INA GE100-DO FAG 22330-E1-K-T41A+AHX2330G FAG B7200-E-2RSD-T-P4S INA IR340X370X80 FAG KUG200 FAGSNV150-L+1217-K-TVH-C3+H217+FSV517 LYC51130 TIMKEN59175/59412 STEYR6003-2Z 国产N317/Z2 LYCFD-31088X2-1/DF 国产624-Z SKFCR99424 TIMKENK25X31X21H SKF23972CC/W33

版权所有©2010-2017 轴承狗zcgou.com 上次更新:2026-05-30