INA ML8040平板保持架引导系统尺寸图纸

ML系列带活动夹条及弯成一定角度的圆柱滚子平板保持架的M型导轨;可提供耐腐蚀设计的直线导引系统

目录

INA ML8040轴承基本参数

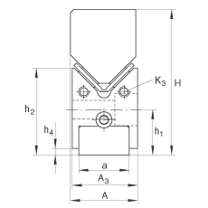
INA平板保持架引导系统 ML8040, 带活动夹条及弯成一定角度的圆柱滚子平板保持架的M型导轨;可提供耐腐蚀设计
压缩载荷拉伸载荷对所有轴的力矩脂润滑油润滑
INA平板保持架引导系统 ML8040, 带活动夹条及弯成一定角度的圆柱滚子平板保持架的M型导轨;可提供耐腐蚀设计
INA平板保持架引导系统 ML8040, 带活动夹条及弯成一定角度的圆柱滚子平板保持架的M型导轨;可提供耐腐蚀设计
INA平板保持架引导系统 ML8040, 带活动夹条及弯成一定角度的圆柱滚子平板保持架的M型导轨;可提供耐腐蚀设计
 
h250 mm 楔形块的高度取决于楔形块的长度,它决定了不同类型的导轨截面高度 H 和 h2 。
H 的调整范围:-0.5到+0.3 mm
A340 mm 公差: -0,2
Lmax500 mm 端部尺寸 C5 和 C6 取决于导轨长度:
C5 和 C6 =L - total C4;
L - total C4 >= 2 x C6 min C5 = C6
值不能小于 C5 和 C6 的最小值
 
4) 标记
41) 孔的类型15 R
42) 孔的类型 15 L
43) 孔的类型03 R
44) 孔的类型 03 L
A40 mm 公差: -0,1
a30 mm  
a129 mm  
C4100 mm 对长度 L < C4 + 2 x C5 minC4 = 50 mm
C5 min32 mm C5总是位于可调夹条一侧
C6 min20 mm  
H80 mm 楔形块的高度取决于楔形块的长度,它决定了不同类型的导轨截面高度 H 和 h2 。
H 的调整范围:-0.5到+0.3 mm
h123 mm  
h43 mm  
h516 mm  
K1M10 根据 DIN 912- 8.8的螺栓
K3M6  
tmin25 mm  
 

INA ML8040轴承供货商

八零动力专业销售德国INAML8040平板保持架引导系统,库存德国INAML8040平板保持架引导系统大量现货,与厂家常年批量订购ML8040轴承,咨询热线:022-58519723业务咨询

INAML8040,我选八零动力,品种全,价格优,质量有保证!大客户热线:022-58519722

其他品牌ML8040轴承同类可代替型号

ML8040它的密封性能,减少了润滑剂的泄漏 它的抗变形能力,让它在高负载下依然保持形状 它的使用寿命,远超同类产品 该轴承的性能优越,极大地提高了设备的工作效率优秀的设计让这款轴承在运行时更加高效节能它的可靠性,赢得了无数用户的信赖 旋转无忧开启顺畅运行新时代,ML8040

INA ML8040轴承近似型号

INAML8035 INAML9040 INA ML8040

热门点击型号

INA ZSL192307 FAG SNV110-L+1310-K-TVH-C3+H310X110+TCV610X110 INA SL014932 FAG SNV080-L+21307-E1-K-TVPB+H307+TSV607 FAG SNV120-L+20311-K-TVP-C3+H311X200+DHV611 FAG 31315-N11CA-A100-140 INA GE160-AW FAG HSS71904-C-T-P4S INA K81108-TV FAG NJ2310-E-TVP2+HJ2310E INAGAKL18-PB SKF234708B SKFCR99829 SKF6214-ZN MRC71903C/DT SKFNU2315ECML* 国产29352 FAGSNV080-L+21307-E1-K-TVPB+H307X103+FSV607 国产6215-Z/Z2 IKOYT3220

版权所有©2010-2017 轴承狗zcgou.com 上次更新:2026-04-14