INA MKUE-25-ZR..-N直线执行器尺寸图纸
MKUE..-ZR系列带有两排球的滑块的直线导引系统
|
| |
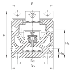
| | | 滑块有两个定位槽 | | B1 | 80 mm | 公差: +/-0,2 |
|---|
| B2 | 80 mm | |
|---|
| B3 | 112 mm | |
|---|
| D | 115 mm | |
|---|
| D1 | 95 mm | 公差:G7 |
|---|
| D2 | 76 mm | |
|---|
| H1 | 58 mm | 公差: +/-0,5 |
|---|
| H2 | 115,7 mm | |
|---|
| H3 | 25 mm | |
|---|
| H4 | 75 mm | |
|---|
| L1 | 263 mm | |
|---|
| O | M8 | |
|---|
| T | 4 mm | 公差: +0,5 |
|---|
|
| |
| mLaw | 3,8 kg | 滑块的质量 |
|---|
| mtot | (Ltot - 230) x 0,0169 + 12 kg | 质量 |
|---|
| | | L2 = 总行程 + L1 + 12 L tot = 总行程 + L1 + L2 + 231 总行程= 有效行程 + 2 x S S指适合于特殊应用的安全范围,应该至少为85 mm;总行程单位为mm。 最大单根支承轨长度 L2 = 8,000 mm | | C | 26300 N | 直线循环球轴承及导轨组件的基本额定载荷
注意:此数值只适用于 Lh 寿命的计算。 |
|---|
| C0 | 41800 N | 直线循环球轴承及导轨组件的基本额定载荷
注意:此数值只适用于 Lh 寿命的计算。 |
|---|
| M0x | 500 Nm | 直线导轨系统的许用静扭矩 这些数值是单一载荷,当执行器的下部完全被支承时使用。 当承受联合载荷时,这些值必须减小。 关于导轨系统的设计标准,见PF1样本。 |
|---|
| M0y | 1600 Nm | 直线导轨系统的许用静扭矩 这些数值是单一载荷,当执行器的下部完全被支承时使用。 当承受联合载荷时,这些值必须减小。 关于导轨系统的设计标准,见PF1样本。 |
|---|
| M0z | 1500 Nm | 直线导轨系统的许用静扭矩 这些数值是单一载荷,当执行器的下部完全被支承时使用。 当承受联合载荷时,这些值必须减小。 关于导轨系统的设计标准,见PF1样本。 |
|---|
| ly | 712 cm^4 | 惯性矩 |
|---|
| lz | 506 cm^4 | 惯性矩 |
|---|
| | 50 AT 10 | 齿形带 | | | 1880 N | 齿形带的许用工作载荷 | | | 75 Nm | 最大驱动力矩 | | | 0,315 kg/m | 齿形带的质量 | | | 250 mm/Umdr | 进给量(mm/转) | | | 14,7 x 10^-4 kg x m^2 | 两个齿轮的质量惯性矩 |
|
八零动力专业销售德国INAMKUE-25-ZR..-N直线执行器,库存德国INAMKUE-25-ZR..-N直线执行器大量现货,与厂家常年批量订购MKUE-25-ZR..-N轴承,咨询热线:022-58519723
INAMKUE-25-ZR..-N,我选八零动力,品种全,价格优,质量有保证!大客户热线:022-58519722
其他品牌MKUE-25-ZR..-N轴承同类可代替型号
MKUE-25-ZR..-N它的轻量化设计,减少了材料的使用 承载无限可能,它的轴向跳动控制,确保了机械的平稳运行 它的质量可靠,是众多机械设备制造商的首选配件质量上乘的轴承,为设备的高效稳定运行奠定了基础这款轴承的稳定性极佳,在长时间运行中也能保持良好状态出色的性能表现,让这款轴承成为行业内的明星产品,高精度与高可靠性的完美结合,成就了这款杰出的轴承MKUE-25-ZR..-N
INAMKUE-25-ZR INAMKUSE25-500-ZR..-N
INA MKUSE25-KGT20
INA MKUE-25-KGT40
INA MKUSE25-ZR-GTRI/8
INA MKUE-25-KGT05
INA MLFI25056-500-ZR
INA MLFI25056-250-ZR
INA MKUSE25-KGT40
INA MKUE-25-KGT20
INA MKUSE25-KGT05
INA MKUSE25-ZR-GTRI/4
热门点击型号
INA ZKLN2052-2Z
INA ZARN3080-L-TV
FAG SNV072-L+21306-E1-TVPB+DH306
FAG SNV120-L+1213-TVH+DH213
FAG SNV120-L+2213-TVH+FSV213
FAG SNV200-L+22222-E1-K+H322X314+DHV522X314
FAG SNV100-L+22211-E1+DHV211
INA GE25-DO-2RS
FAG H313X203
INA K6X9X8-TV
TIMKENMB19
STEYR6308-2RS
NSKQJ336
SKF511/630F
LYCLR306/33.02
MRC71908C/DB
TIMKENLM739749/LM739710CD+LM739749XA
NTNNU2313
TIMKENLL103049/LL103010
SKFCR30X47X8HMSA10V
版权所有©2010-2017 轴承狗zcgou.com 上次更新:2026-05-30