SKFZ307轴承详细参数

发布时间:2026-05-30
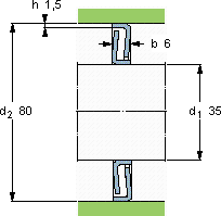
密封垫圈
尺寸 型号 适宜的锁紧垫圈
轴上 轴承座内
d1 d2 b h 型号 型号
mm - - -
358061,5Z 307ZW 35x42ZW 70x80

SKFZ307密封和间隔垫圈供应商

八零动力专业销售Z307密封和间隔垫圈,库存SKFZ307大量现货,与SKF合作,咨询热线:022-58519723业务咨询
SKFZ307每一次旋转,都是品质的见证,卓越的性能表现,让这款轴承在市场上脱颖而出设计独特、性能优越的轴承,满足了不同用户的需求轴承的耐用性超乎想象,有效降低了设备的维护成本承载重托顺滑无声,八零动力SKF密封和间隔垫圈品种全,价格优,质量有保证!

用户关注最多的SKF轴承型号

SKF1313ETN9 SKF5304A-2Z* SKF71813CD/P4A SKF7309BEGBP* SKFAXK0821TN SKFCR22X47X7HMSA10RG SKFCR408000 SKFCR99144 SKFHA2330 SKFHM30/630 SKFNCF3007CV SKFNNCF4930CV SKFNU1096 SKFNU2312ECP* SKFSAF23024KAx4.1/4

Z307密封和间隔垫圈近似的SKF轴承型号

SKFZ307F SKFZ307 SKFZ306F SKFZ307F

用户关注最多的轴承狗热门型号

SKF  RNA4920 FYH  UKFU326+H2326 SKF  7013ACD/HCP4A NSK  7326ADF SKF  CR100X120X12HMSA10V FAG  SNV110-L + 20212-TVP + DH212 SKF  16002/HR22Q2 SKF  23272CACK/W33 FAG  22234-E1-K + H3134 KINGON  F625ZZ NACHI  H-18590/H-18520 LYC  6305 E-2RZ NSK  16011 NACHI  21322EX1W33 IKO  LRXD65

版权所有©2009-2015 轴承狗zcgou.com ICP备案:津ICP备14004550号-13