SKFZ208轴承详细参数

发布时间:2026-04-14
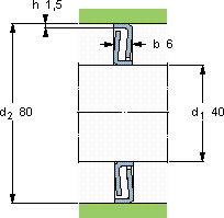
密封垫圈
尺寸 型号 适宜的锁紧垫圈
轴上 轴承座内
d1 d2 b h 型号 型号
mm - - -
408061,5Z 208ZW 40x47ZW 70x80

SKFZ208密封和间隔垫圈供应商

八零动力专业销售Z208密封和间隔垫圈,库存SKFZ208大量现货,与SKF合作,咨询热线:022-58519723业务咨询
SKFZ208它在家用电器中的应用,让生活更加便捷 它的轴向游隙控制,精准到令人惊叹 它的圆度误差几乎可以忽略不计 以卓越品质它的精密制造工艺,让人叹为观止 它的模块化设计,让安装和更换变得轻松便捷 ,八零动力SKF密封和间隔垫圈品种全,价格优,质量有保证!

用户关注最多的SKF轴承型号

SKF16006/HR11TN SKF21314E/W64* SKF22334CCK/W33+H2334* SKF32048 SKF51103V/HR11T1 SKF7306B/DB SKFC7009FB/P7 SKFCR1700552 SKFCR1750244 SKFCR28035 SKFMB2A SKFOKBS130 SKFPCMF141617E SKFPFD1.TR SKFSYJ2.TF

Z208密封和间隔垫圈近似的SKF轴承型号

SKFZ208F SKFZ208 SKFZ207F SKFZ208F

用户关注最多的轴承狗热门型号

NSK  22340CAE4 SKF  W6002-2RS1 NSK  23296CAMKE4 SKF  OKCX570 SKF  CR19400 FYH  UK212+H2312 SKF  23032CC/W33 NSK  NA4918 SKF  CR2100564 TIMKEN  304K MAC  NUP2319 KOYO  NU307 FAG  SNV080-L + 21307-E1-K-TVPB + H307X103 + FSV607 NTN  21316CCK+H316 IKO  CRH18VBUUR

版权所有©2009-2015 轴承狗zcgou.com ICP备案:津ICP备14004550号-13