SKFZ206轴承详细参数

发布时间:2026-04-15
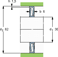
密封垫圈
尺寸 型号 适宜的锁紧垫圈
轴上 轴承座内
d1 d2 b h 型号 型号
mm - - -
306261,5Z 206ZW 30x37ZW 50x62

SKFZ206密封和间隔垫圈供应商

八零动力专业销售Z206密封和间隔垫圈,库存SKFZ206大量现货,与SKF合作,咨询热线:022-58519723业务咨询
SKFZ206轴承的选材优质,确保了其在各种环境下都能稳定工作减少摩擦降低能耗它在农业机械中的应用,展现了它的耐用性 它的润滑技术,减少了润滑剂的使用 它在食品机械中的应用,展现了它的卫生性能 稳定旋转的核心力量,八零动力SKF密封和间隔垫圈品种全,价格优,质量有保证!

用户关注最多的SKF轴承型号

SKF31330XJ2/DF SKF6205-ZNR* SKF71909C SKF81103 SKFCR17666 SKFCR404000 SKFCR52x68x8CRW1R SKFCR593094 SKFNJ407TN9 SKFNN3009KTN/SP SKFNU2217E SKFNUP326E SKFOKTC465 SKFRN-3x23.8BF/G2 SKFW625-2Z

Z206密封和间隔垫圈近似的SKF轴承型号

SKFZ206F SKFZ206 SKFZ205F SKFZ206F

用户关注最多的轴承狗热门型号

NTN  7312B/DT RHP  7214B/DF LYC  NU 322 M TIMKEN  SAF22230 LYC  LM283649DGW/LM283610/LM283610D-1 TIMKEN  M224748/M224710 SKF  CR50X75X9CRS11R SKF  Z209 INA  MDKUSE25-KGT20 SNR  7005AC/DF TIMKEN  HM212049X/HM212010 SKF  2x7315BECBY NTN  6832NR IKO  CFE20-1VBUU IKO  CRWU30-85R

版权所有©2009-2015 轴承狗zcgou.com ICP备案:津ICP备14004550号-13