SKFZ010轴承详细参数

发布时间:2026-05-30
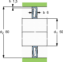
密封垫圈
尺寸 型号 适宜的锁紧垫圈
轴上 轴承座内
d1 d2 b h 型号 型号
mm - - -
508061,5Z 010ZW 50x62ZW 70x80

SKFZ010密封和间隔垫圈供应商

八零动力专业销售Z010密封和间隔垫圈,库存SKFZ010大量现货,与SKF合作,咨询热线:022-58519723业务咨询
SKFZ010减少摩擦降低能耗它的抗冲击性能,让它经得起各种考验 它的材质选择,体现了对品质的极致追求 没有轴承,现代机械将寸步难行,这款轴承的稳定性极佳,在长时间运行中也能保持良好状态要设备更出色,八零动力SKF密封和间隔垫圈品种全,价格优,质量有保证!

用户关注最多的SKF轴承型号

SKF23940CCK/W33 SKF24176ECA/W33 SKF608-RZ SKF7009C/DT SKF71824ACD/P4 SKF71944C/DF SKF81113 SKFCR22X32X7HMS5V SKFCR404603 SKFCR50X64X6HMSA10V SKFCR70x92x11CRWH1V SKFCR87379 SKFHME3084 SKFSAW23536X6.5/16 SKFYEL205-013-2F

Z010密封和间隔垫圈近似的SKF轴承型号

SKFZ010 SKFZ010F SKFZ009F SKFZ010F

用户关注最多的轴承狗热门型号

GMN  7209AC/DT SKF  KMK15 FAG  SNV290-L + 23232-E1-K-TVPB + H2332 + TSV532 STEYR  NUP313 NACHI  33251/33472 FLT  NU2210 SNR  7321AC/DF FAG  LOE530-N-AF-L RIV  NJ205 SKF  6201-2RSL MRC  7312B/DF 国产  NJ206ETN1 NSK  7204BDT NACHI  6913ZNR SKF  7407BM

版权所有©2009-2015 轴承狗zcgou.com ICP备案:津ICP备14004550号-13