SKFRN-5x19.8BF/G2轴承详细参数

发布时间:2026-05-30
滚针轴承, 滚针
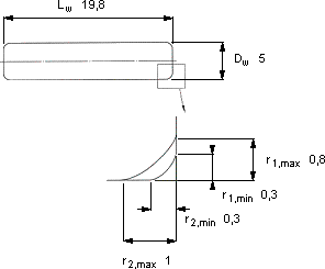
尺寸 体积 型号
DwLw r1,2r1r2 每1000
最小 最大 最大
mmkg
519,80,30,813,05RN-5x19.8 BF/G2

SKFRN-5x19.8BF/G2滚针轴承供应商

八零动力专业销售RN-5x19.8BF/G2滚针轴承,库存SKFRN-5x19.8BF/G2大量现货,与SKF合作,咨询热线:022-58519723业务咨询
SKFRN-5x19.8BF/G2让您的设备高效运行,优秀的设计和卓越的性能,让这款轴承备受青睐给您意想不到的顺畅体验,转动的艺术它的质量过硬,为机械设备的高效、安全、稳定运行 质量上乘的轴承,为设备的高效稳定运行奠定了基础,八零动力SKF滚针轴承品种全,价格优,质量有保证!

用户关注最多的SKF轴承型号

SKF32209 SKF7018ACD/P4A SKFCR1100258 SKFCR75X120X12HMS5RG SKFCR87513 SKFCR95x120x12CRW1R SKFCR95X120X12HMSA10V SKFFSAF22217 SKFN212E SKFN2252MB SKFNJ322ECP SKFNNU41/900M/W33 SKFNUKR40A SKFSC71917FB/P7 SKFW11

RN-5x19.8BF/G2滚针轴承近似的SKF轴承型号

SKFK15x19x17 SKFRN-5x19.8BF/G2 SKFK195x205x37 SKFK19x23x13 SKFRN-3.5x19.8BF/G2 SKFRN-4x19.8BF/G2 SKFNA6919 SKFK15x19x10 SKFIR180x195x45 SKFNK19/20 SKFRN-5x15.8BF/G2 SKFRN-5x21.8BF/G2

用户关注最多的轴承狗热门型号

LYC  7208 ACM/P5 TIMKEN  29675/29630 国产  N315E NACHI  N1019 MRC  7236B/DB FAG  BND2220-H-W-Y-AL-S SKF  32211 TIMKEN  T182W KOYO  EE724121D/195/196D SKF  SYE2.-3 RIV  NF2318 NSK  N1022BT FAG  SD3184-H-TS-AF-L + 231SM400-MA NSK  1214 SNR  7017AC

版权所有©2009-2015 轴承狗zcgou.com ICP备案:津ICP备14004550号-13