SKFRN-4x11.8BF/G2轴承详细参数

发布时间:2026-05-30
滚针轴承, 滚针
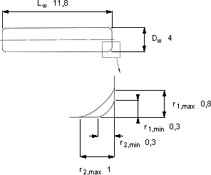
尺寸 体积 型号
DwLw r1,2r1r2 每1000
最小 最大 最大
mmkg
411,80,30,811,16RN-4x11.8 BF/G2

SKFRN-4x11.8BF/G2滚针轴承供应商

八零动力专业销售RN-4x11.8BF/G2滚针轴承,库存SKFRN-4x11.8BF/G2大量现货,与SKF合作,咨询热线:022-58519723业务咨询
SKFRN-4x11.8BF/G2它的密封性能,减少了润滑剂的泄漏 它的耐磨性能,让它在恶劣环境下依然稳定运行 为您的设备保驾护航,让机械运转无忧设计合理、性能优良的它,是机械设备实现高效运行的重要保障为设备的精确运行提供了保障,该轴承的精度控制精准,为设备的精确运行提供了保障这款轴承的运转平稳,几乎听不到任何噪音,令人惊艳,八零动力SKF滚针轴承品种全,价格优,质量有保证!

用户关注最多的SKF轴承型号

SKF32024T84X/QDBC200 SKF7016CD/HCP4A SKF7038AC/DB SKF7218B/DB SKFBS2B247597 SKFC6911V* SKFCR14514 SKFCR16406 SKFCR1900562 SKFCR335x375x18HDS1R SKFCR570x610x20HDS1R SKFNK28/30 SKFNF320ECM* SKFNNU6024V SKFYAR206-103-2FW/VA201

RN-4x11.8BF/G2滚针轴承近似的SKF轴承型号

SKFRNA4911 SKFNK110/40 SKFK110x118x30 SKFIR95x110x63 SKFRN-1.5x11.8BF/G2 SKFIR110x120x30 SKFK8x11x13TN SKFK110x117x24 SKFNA4911 SKFRNAO90x110x30 SKFRN-3x9.8BF/G2 SKFRN-4x13.8BF/G2

用户关注最多的轴承狗热门型号

NSK  7216CTY SKF  71914CD/HCP4A FAG  ZRB14X15-QP SKF  BT4B331351BG/HA1 NSK  RNA4838 SKF  1310EKTN9 TIMKEN  67437/67675 LYC  QJ 232 M KOYO  23132RH NACHI  6814 FAG  22318-E1-K + H2318 SKF  NNF5008ADA-2LSV FAG  SNV215-L + 2320-K-M-C3 + H2320X310 + DHV620X310 SKF  6315/VA201 NSK  23288CAE4

版权所有©2009-2015 轴承狗zcgou.com ICP备案:津ICP备14004550号-13