SKFRN-2x13.8BF/G2轴承详细参数

发布时间:2026-04-14
滚针轴承, 滚针
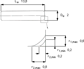
尺寸 体积 型号
DwLw r1,2r1r2 每1000
最小 最大 最大
mmkg
213,80,20,60,80,34RN-2x13.8 BF/G2

SKFRN-2x13.8BF/G2滚针轴承供应商

八零动力专业销售RN-2x13.8BF/G2滚针轴承,库存SKFRN-2x13.8BF/G2大量现货,与SKF合作,咨询热线:022-58519723业务咨询
SKFRN-2x13.8BF/G2先进的生产工艺,打造出了这款性能卓越的轴承这轴承的设计巧妙,充分考虑了设备的运行需求和维护便利性这轴承的制造工艺精湛,展现出了极高的工业水准它的旋转精度,让高速运转成为现实 它的疲劳强度,确保了长期使用的可靠性 它的精密设计,展现了人类智慧的巅峰 ,八零动力SKF滚针轴承品种全,价格优,质量有保证!

用户关注最多的SKF轴承型号

SKF2311K+H2311 SKF2x7304BECBP* SKF32311BJ2/QCL7C* SKF32321 SKF7004C/DT SKF71815ACD/P4 SKFBS2-2215-2CS/VT143* SKFCR523586 SKFCR87525 SKFHMV36E SKFHMVC120E SKFKMTA30 SKFLM567949/910/HA1 SKFPCMF101212E SKFSAF22536x6.3/8

RN-2x13.8BF/G2滚针轴承近似的SKF轴承型号

SKFK50x55x13.5 SKFIR17x22x13 SKFIR33x37x13 SKFK30x34x13 SKFK10x14x13TN SKFNAO17x30x13 SKFK10x13x16TN SKFK15x20x13 SKFK32x37x13 SKFK17x21x13 SKFRN-2x11.8BF/G2 SKFRN-2x15.8BF/G2

用户关注最多的轴承狗热门型号

LYC  22224/W33 LYC  SA 6308/28-2RS 国产  23052A FAG  AH3072-H TORRINGTON  21315CC FAG  23152-K-MB + H3152X INA  BPLSE45-FE SKF  NNU4924K/W33 SNR  627-2RS STEYR  NJ2318 TIMKEN  1200KRR SNR  7321B/DF IKO  GBRI183020UU IKO  GS200265 IKO  LRBZ364428

版权所有©2009-2015 轴承狗zcgou.com ICP备案:津ICP备14004550号-13