INA PASTP20端部停点尺寸图纸

PASTP系列导轨的直线导引系统

目录

INA PASTP20轴承基本参数

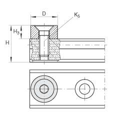
INA端部停点 PASTP20, 导轨
 
D14 mm  
G2M5  
H22,2 mm  
H37 mm  
 
m8 g 端盖的质量
 LFS20 适用于导轨

INA PASTP20轴承供货商

八零动力专业销售德国INAPASTP20端部停点,库存德国INAPASTP20端部停点大量现货,与厂家常年批量订购PASTP20轴承,咨询热线:022-58519723业务咨询

INAPASTP20,我选八零动力,品种全,价格优,质量有保证!大客户热线:022-58519722

其他品牌PASTP20轴承同类可代替型号

PASTP20它的密封性能,减少了润滑剂的泄漏 它的抗磨损涂层,让它更加耐用 高精度的轴承,为设备的稳定运行提供了坚实保障这轴承的选材讲究,坚固耐用,寿命远超同类产品该轴承的性能卓越,完全满足了各种严苛工况的需求每一次转动都是精准与力量的完美呈现,轴承的选材精良,确保了其具有良好的耐磨性和抗腐蚀性它的质量过硬,为机械设备的高效、安全运行提供了保障PASTP20

INA PASTP20轴承近似型号

INAPASEY60-N INAPASTP25 INA PASTP20

热门点击型号

FAG SNV090-L+20210-K-TVP-C3+H210X112+DH510 FAG SNV090-L+22308-E1-K+H2308X105+DHV608X105 FAG SNV120-L+1213-K-TVH-C3+H213X206+TSV513 FAG SNV180-L+20220-K-MB-C3+H220X307+DHV520X307 FAG 3313-DA FAG 22326-E1-T41D FAG BND3280-Z-Y-AF-S INA HK4512 INA K55X63X32 FAG HCB7013-E-T-P4S NSKZM-UCP208-108D1 SKFNA4901.2RS SKFCR401702 国产UCFB211 FAGZRB64X75-QP TIMKENSM1015KB STEYRN330 TIMKEN200FS290 NSKNJ2304ET INARWS1808-250/x250/x6

版权所有©2010-2017 轴承狗zcgou.com 上次更新:2026-05-30