INA MVZ6035导轨尺寸图纸

MVZ系列固定保持架的导轨;可提供耐腐蚀设计的直线导引系统

目录

INA MVZ6035轴承基本参数

INA导轨 MVZ6035, 固定保持架的导轨;可提供耐腐蚀设计
压缩载荷拉伸载荷对所有轴的力矩脂润滑油润滑
INA导轨 MVZ6035, 固定保持架的导轨;可提供耐腐蚀设计
INA导轨 MVZ6035, 固定保持架的导轨;可提供耐腐蚀设计
INA导轨 MVZ6035, 固定保持架的导轨;可提供耐腐蚀设计
INA导轨 MVZ6035, 固定保持架的导轨;可提供耐腐蚀设计
 
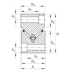
H60 mm 公差: -0,2
A35 mm  
Lmax1300 mm  
 
37) 用于刮削器的孔,终端件
38) 孔的类型15
39) 孔的类型10
4) 标记
40) 孔的类型03
A335 mm  
a126 mm  
amin1,3 x 45°  
C4100 mm  
C5 min20 mm  
C6 min20 mm  
h111 mm  
h235 mm  
h320 mm  
K1M8  
K3M6  
tmin20 mm  
 
  带密封条设计

INA MVZ6035轴承供货商

八零动力专业销售德国INAMVZ6035导轨,库存德国INAMVZ6035导轨大量现货,与厂家常年批量订购MVZ6035轴承,咨询热线:022-58519723业务咨询

INAMVZ6035,我选八零动力,品种全,价格优,质量有保证!大客户热线:022-58519722

其他品牌MVZ6035轴承同类可代替型号

MVZ6035顺滑无声它的质量过硬,为机械设备的高效、安全运行提供了保障它在化工设备中的应用,展现了它的耐腐蚀性 性能优越的轴承,极大地提升了设备的工作性能和效率为您的设备保驾护航,让机械运转无忧它在风力发电中的应用,为清洁能源贡献力量 这款轴承的运转十分平稳,几乎感受不到任何震动以卓越品质MVZ6035

INA MVZ6035轴承近似型号

INAMVZ5025 INAMVZ7040 INA J6035 INA MVZ6035 INA S6035 INA V6035 INA S6035 INA V6035 INA S6035 INA M6035 INA V6035 INA M6035

热门点击型号

FAG S3076-H-N-FZ-BF-L+23076B-K-MB FAG SNV062-L+1206-K-TVH-C3+H206X100+DHV506 FAG SNV080-L+1307-K-TVH-C3+H307X102+TSV607X102 FAG SNV090-L+1308-K-TVH-C3+H308X105+TCV608X105 INA SL182964 FAG SNV170-L+2219-K-M-C3+H319+TSV519 FAG SNV300-L+22328-E1-K+H2328+TSV528 FAG 6205-2RSR INA DKLFA40115-2RS INA LR20X25X38,5 LYCNU212Q1/P63S0 SKFHM807040/010/QCL7C TIMKENHM252349/HM252310CD/HM252349XC SKFCR110x140x12CRW1R SKFRN-5x21.8BF/G2 INACSXG160 DKF7007AC/DB NSKUCFL213-208D1 SKFSYR2.1/2H-3 LYCN319M/P5

版权所有©2010-2017 轴承狗zcgou.com 上次更新:2026-05-30