INA MKUSE25-ZR直线执行器尺寸图纸

MKUSE..-ZR系列带有六排球的滑块的直线导引系统

目录

INA MKUSE25-ZR轴承基本参数

INA直线执行器 MKUSE25-ZR, 带有六排球的滑块
压缩载荷拉伸载荷对所有轴的力矩脂润滑
INA直线执行器 MKUSE25-ZR, 带有六排球的滑块
INA直线执行器 MKUSE25-ZR, 带有六排球的滑块
INA直线执行器 MKUSE25-ZR, 带有六排球的滑块
INA直线执行器 MKUSE25-ZR, 带有六排球的滑块
INA直线执行器 MKUSE25-ZR, 带有六排球的滑块
 
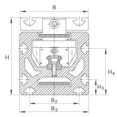
H125 mm  
B110 mm  
L250 mm  
 
  滑块有两个定位槽
B280 mm  
B3112 mm  
D115 mm  
D195 mm 公差:G7
D276 mm  
H158 mm 公差: +/-0,5
H2115,7 mm  
H325 mm  
H475 mm  
L1263 mm  
OM8  
T4 mm 公差: +0,5
 
mLaw3,8 kg 滑块的质量
mtot(Ltot - 231) x 0,0169 + 12 kg 质量
  L2 = 总行程 + L1 + 12
L tot = 总行程 + L1 + L2 + 231
总行程= 有效行程 + 2 x S
S指适合于特殊应用的安全范围,应该至少为85 mm;总行程单位为mm。
最大单根支承轨长度 L2 = 8,000 mm
ly712 cm^4 惯性矩
lz506 cm^4 惯性矩
 50 AT 10 齿形带
 1880 N 齿形带的许用工作载荷
 75 Nm 最大驱动力矩
 0,315 kg/m 齿形带的质量
 250 mm/Umdr 进给量(mm/转)
 14,7 x 10^-4 kg x m^2 两个齿轮的质量惯性矩
CI45500 N 直线循环球轴承及导轨组件的基本额定载荷

载荷方向 I = 压缩载荷

注意:此数值只适用于 Lh 寿命的计算。
C0 I134000 N 直线循环球轴承及导轨组件的基本额定载荷

载荷方向 I = 压缩载荷

注意:此数值只适用于 Lh 寿命的计算。
CII37200 N 直线循环球轴承及导轨组件的基本额定载荷

载荷方向 II = 拉伸载荷

注意:此数值只适用于 Lh 寿命的计算。
C0 II86000 N 直线循环球轴承及导轨组件的基本额定载荷

载荷方向 II = 拉伸载荷

注意:此数值只适用于 Lh 寿命的计算。
CIII34600 N 直线循环球轴承及导轨组件的基本额定载荷

载荷方向 III = 横向载荷

注意:此数值只适用于 Lh 寿命的计算。
C0 III92000 N 直线循环球轴承及导轨组件的基本额定载荷

载荷方向 III = 横向载荷

注意:此数值只适用于 Lh 寿命的计算。
M0x1070 Nm 直线导轨系统的许用静扭矩
这些数值是单一载荷,当执行器的下部完全被支承时使用。
当承受联合载荷时,这些值必须减小。
关于导轨系统的设计标准,见PF1样本。
M0y2250 Nm 直线导轨系统的许用静扭矩
这些数值是单一载荷,当执行器的下部完全被支承时使用。
当承受联合载荷时,这些值必须减小。
关于导轨系统的设计标准,见PF1样本。
M0z2000 Nm 直线导轨系统的许用静扭矩
这些数值是单一载荷,当执行器的下部完全被支承时使用。
当承受联合载荷时,这些值必须减小。
关于导轨系统的设计标准,见PF1样本。

INA MKUSE25-ZR轴承供货商

八零动力专业销售德国INAMKUSE25-ZR直线执行器,库存德国INAMKUSE25-ZR直线执行器大量现货,与厂家常年批量订购MKUSE25-ZR轴承,咨询热线:022-58519723业务咨询

INAMKUSE25-ZR,我选八零动力,品种全,价格优,质量有保证!大客户热线:022-58519722

其他品牌MKUSE25-ZR轴承同类可代替型号

MKUSE25-ZR以卓越品质为您创造更多可能,它的抗冲击性能,让它经得起各种考验 它的抗震性能,确保了它在振动环境下的可靠性 品质卓越是机械世界的璀璨明星,它的多样化应用,展现了它的无限可能 这款轴承的稳定性极佳,在长时间运行中也能保持良好状态MKUSE25-ZR

INA MKUSE25-ZR轴承近似型号

INAMKUSE25-KGT40 INAMKUSE25-ZR..-N INA MLFI25056-ZR INA MKUE-25-500-ZR..-N INA MKUE-25-KGT10 INA MKUSE25-KGT40 INA MGFI25056-ZR INA MKUSE25-500-ZR..-N INA MKUSE25-ZR..-N INA MLFI25056-500-ZR INA MGFI25056-250-ZR INA MKUE-25-KGT05

热门点击型号

FAG SNV072-L+1207-K-TVH-C3+H207X103+FSV507 FAG SNV240-L+2322-K-M-C3+H2322X400+DH522 FAG SNV100-L+21309-E1-K+H309+FSV609 FAG SNV230-L+23226-E1-K-TVPB+H2326+DH526 INA SCE129-P INA GE100-KRR-B FAG BND3056-H-C-T-BL-S INA CSXD060 FAG HSS71911-C-T-P4S INA KGSCS20-PP-AS LYCLY-3029/P5 FAGSNV180-L+2220-K-M-C3+H320X311+DH520X310 SKF7009C/DB NACHI7336 LYC29344 LYCNUP314EM TIMKEN110BIC479 KINGONF686 KOYONJ2220E+HJ2220E IKORNA4916

版权所有©2010-2017 轴承狗zcgou.com 上次更新:2026-05-30